销售易大学
本文以线索打分为主线来介绍线索智能打分的主要作用。借助线索智能打分,销售人员能聚焦高质量线索而不会把时间浪费在那些不合适或没准备好的潜客身上。
在所有真实联络信息的线索中,合理的线索只占少数(感兴趣不等于一定会买),而真正能转化为交易的线索客户更是少之又少(就算我要买,也不一定非你不可),所以当营销人员组织市场活动时,最关心的两点无非是——如何在渠道中获取足够的线索,以及如何高效地完成用户管理与转化。要实现这两点,就要从大量的销售线索中找到对你企业产品真正感兴趣的潜客,销售线索智能打分模型在这一方面能够很好地助力营销人员。
一、如何理解线索打分?
了解线索打分之前,首先要知道什么是线索。
线索(Leads):可能是客户在网站提交的询价信息,可能是企业通过爬虫从其他平台获取的信息,也可能是企业购买的电话信息。来源如此广泛的线索是最不确定的潜在客户,因为它有可能完全不是企业的目标客户,也可能仅仅是一些错误的信息片段。面对这些良莠不齐的大量数据,则需要我们对线索进行打分,从而筛选出“优质线索”。
线索打分可以理解为是对销售线索的质量进行客观排名定级,根据收益潜力和买家准备度等评分指标进行排名。线索打分可以确保最优质的线索得到及时跟进,避免在“好”线索与“差”线索上平均分配精力,导致整体的投入产出比下降。通过评估优质线索,可以把控转交给销售人员跟进的线索质量,更加精准地定位目标客户。用线索打分来定义线索质量,优化销售跟进以及部门间协作,也是市场部和销售部一个互相认可的过程。

图 1. 市场活动结果数据
在过去的十年里,线索打分中最常规的定义是 BANT:预算(Budget)、决策人(Authority)、需求(Need)和时间点(TimeFrame),满足这些条件才能算是优质线索。但是这样的优质线索非常昂贵并且难以获取,所以我们要从大量的未经处理的线索中进行初步的评分筛选。

图 2. 市场活动线索转化率
二、CRM 系统智能评分的核心意义
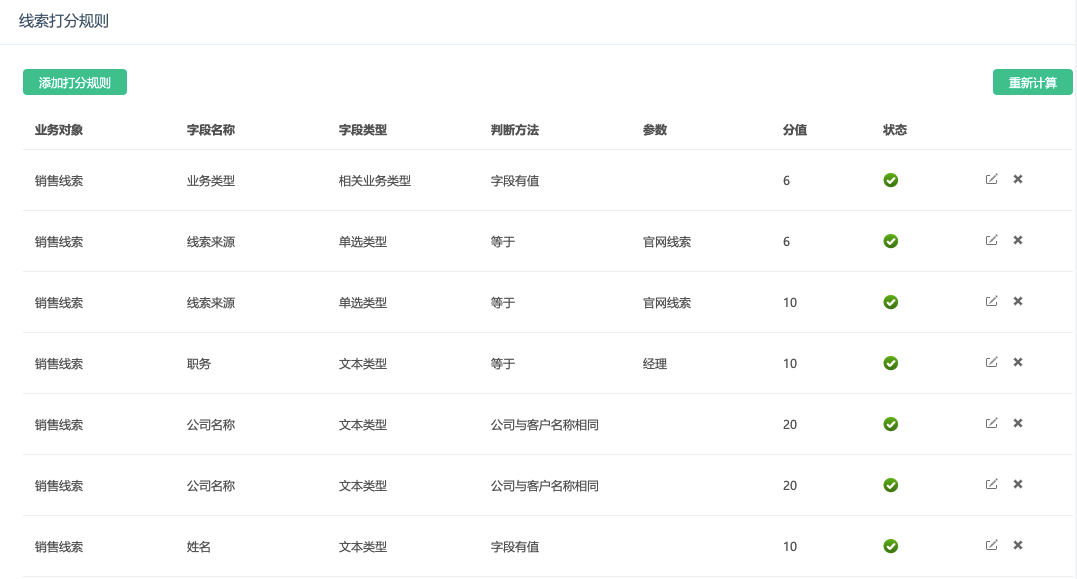
评分对于 CRM 系统来说并不新鲜,在评分系统出现之前企业会通过发放调查问卷的形式来评价用户。销售人员和市场人员会采用一些维度来进行评分,国内外许多产品的用户评分功能主要还是基于线下,这种模式下各维度权重靠直觉和猜测。而人工智能技术的发展使评分机制变得更加自动化、效率更高、应用面也更广。早期销售易 CRM 系统的打分规则(线索、客户、联系人、销售机会)的打分都是根据字段值来设置权重,根据权重进行评分。

图 3. 原销售易线索打分:依据固定字段进行线索打分
线索打分对于 CRM,核心意义主要有两点:
1. 提升销售效率,实现收入最大化
企业可以通过评分提高工作效率。一方面评分使企业能够将销售线索跟进的优先排序从一个主观过程转变成有分析性的科学方法指导的过程,避免了不同人进行主观评估的低效过程;另一方面软件承担了很多的人力工作,大幅提升工作效率。
2. 让销售业绩预测更加科学和准确
评估和理解线索质量的能力越高,对销售漏斗和收入预测的预见性就越好,根据区域、行业、产品线发现项目缺点也会变得更容易。这能够帮助销售和营销团队集中资源于效益最大化之处,恰当应对不足,有效的提高线索的质量,降低线索的流失,提升线索转化。
三、智能的线索打分
与传统评分模式相比,现有销售易 CRM 引入了人工智能的评分规则,线索打分会更为精准。预测性评分是通过机器学习来分析成千上万个数据点,从而确定最佳线索。预测性评分会查看客户的共有信息,以及潜在客户的共有信息,并根据客户的潜力提出一个公式,根据重要性排序。这样一来,销售管理者和销售团队就可以对销售线索进行优先排序。预测线索计分的另外一个优点是,和所有机器学习应用程序一样,内部数据 + 上下游系统数据 +CRM 系统数据使数据维度更加全面,算法上引入机器学习的评分模型可以不断调整、自动优化,变得越来越智能。
销售易的销售线索打分,由周小易利用评分模型,预测出已有线索中哪些线索最有可能被成功转换。每一个被预测的销售线索都会有一个得分,并通过线索特征分值字段显示,用来说明线索转换成功的可能性。分值的数值越大,代表能成功转换的可能性就越大。线索得分会随着线索培育的过程,不断发生变化。通过线索得分的优劣势分析,也可以看出线索字段值,对线索转换更有帮助。

四、如何创建线索打分模型
那么我们该如何教会周小易创建销售线索的打分模型呢?
STEP 1
在开启线索智能打分模型前,需要思考:
在您的企业中,线索转换成功的定义是什么 ?
在您的企业中,线索没有成功转换的定义是什么 ?
哪些线索是您企业的典型线索 ?
哪些线索字段是您企业比较看重的 ?

STEP 2
您的企业对线索成功转换的定义是 ” 转换成客户与联系人 ” 还是 ” 转换成客户,联系人并创建商机 ” ?

STEP 3
您的企业是如何认定一条线索无法成功转换的?是把线索 ” 关闭状态 ” 和 ” 废弃状态 ” 作为线索无法成功转换的标志,还是根据线索的跟进时长来判断线索无法成功转换呢?

STEP 4
您的企业准备用哪一种类型的历史数据,或者采用哪些过滤条件来让历史数据作为当前线索打分的训练模型样本呢?我们可以通过过滤,只让这一部分的历史线索数据作为当前线索打分的训练模型样本。这样的话,线索得分会因为更接近现在的业务标准而更加精确。

STEP 5
您的企业更关注线索的哪些字段呢?我们可以通过选择符合的字段参与到打分模型中,这样可以让打分模型更加准确。如果忽略对线索成功转换有影响的字段,会降低打分模型的准确性。

STEP 6
完成以上 5 步后,恭喜您,线索打分设置已大功告成!
周小易已经接收到了您的需求信息,点击 “训练 “,开始训练线索历史数据,系统就会根据您的需求进行专属的线索打分啦。

通过周小易对销售线索智能打分,可以帮助销售人员将更多的注意力集中在合适的潜在客户群体中,更好地安排时间和资源,帮助销售快速、精准地辨识出高质量线索,确定线索跟进优先级,提升线索的转化效率或关闭率,以完成销售业绩。

5、结语
线索不是生来平等的,线索质量上的小提高能引起销售率的巨大增加。借助线索智能打分,销售人员能聚焦高质量线索而不会把时间浪费在那些不合适或没准备好的潜客身上。因此,好的线索智能打分意味着高完成率与高转换率。